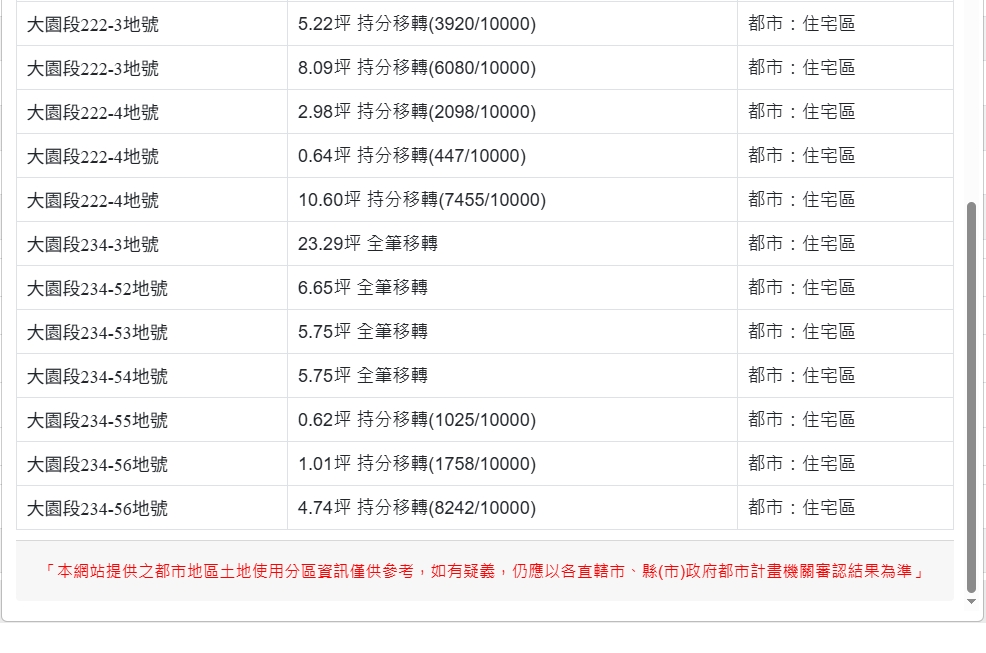
大園區大園段221地157.09坪建地-2670.5萬-17萬-11408

大園區大園段地157坪建地

  • 成交時間114年08月
  • 土地坪數157.09
  • 土地單價每坪17萬
  • 買賣總價2670.5萬元
  • 都計種類都市土地
  • 使用分區住宅區

交通位置示意圖

 

籍空照示意圖

 

資料來源